Tài liệu vải địa kỹ thuật, Tài liệu kỹ thuật, Vải địa kỹ thuật, Vải địa kỹ thuật dệt, Vải địa kỹ thuật không dệt, Vải địa kỹ thuật phức hợp
TCVN 8483:2010 vải địa kỹ thuật – phương pháp xác định độ dẫn nước
TIÊU CHUẨN QUỐC GIA TCVN 8483 : 2010
vải địa kỹ thuật – phương pháp xác định độ dẫn nước
Geotextile – Test method for determination of transimissivity
Lời nói đầu
TCVN 8483 : 2010 được chuyển đổi từ 14 TCN 98 – 1996 theo quy định tại khoản 1 Điều 69 của Luật Tiêu chuẩn và Quy chuẩn kỹ thuật và điểm a khoản 1 Điều 7 Nghị định số 127/2007/NĐ-CP ngày 1/8/2007 của Chính phủ quy định chi tiết thi hành một số điều của Luật Tiêu chuẩn và Quy chuẩn kỹ thuật.
TCVN 8483 : 2010 do Viện Khoa học Thủy lợi Việt Nam biên soạn, Bộ Nông nghiệp và Phát triển Nông thôn đề nghị, Tổng cục Tiêu chuẩn Đo lường Chất lượng thẩm định, Bộ Khoa học và Công nghệ công bố.
VẢI ĐỊA KỸ THUẬT – PHƯƠNG PHÁP XÁC ĐỊNH ĐỘ DẪN NƯỚC
Geotextile – Test method for determination of transimissivity
1. Phạm vi áp dụng
Tiêu chuẩn này quy định phương pháp xác định độ dẫn nước theo mặt phẳng của các loại vải địa kỹ thuật ở trạng thái nén dưới tải trọng nhất định.
2. Tài liệu viện dẫn
TCVN 8220 : 2009, Vải địa kỹ thuật – Phương pháp xác định độ dày danh định.
TCVN 8222 : 2009, Vải địa kỹ thuật – Quy định chung về lấy mẫu, thử mẫu và xử lý thống kê.
3. Thuật ngữ và định nghĩa
Trong tiêu chuẩn sử dụng các thuật ngữ và định nghĩa sau:
3.1. Ứng suất nén chính (Normal compressive stress)
Ứng suất nén chính là ứng suất nén duy nhất vuông góc với bề mặt mẫu thử, tính bằng kilôPascal (kPa); ngoài ra mẫu thử không chịu bất kỳ tác động nào khác, kể cả áp lực nước, lực ma sát của thiết bị kéo của màng đàn hồi …
3.2. Dòng chảy phẳng (In – Plance flow)
Dòng chảy phẳng là dòng chất lỏng chảy thẳng và song song với bề mặt mẫu thử.
3.3. Dung tích dòng chảy phẳng (In – Plane water flow capacity)
Dung tích dòng chảy phẳng là thể tích nước chảy trên một đơn vị chiều rộng mẫu thử ứng với ứng suất nén vuông góc xác định và gradient thủy lực xác định.
3.4. Gradient thủy lực (Hydraulic gradient)
Gradient thủy lực là tỷ số giữa chênh lệch cột nước trên mẫu thử và khoảng cách giữa các điểm đo
Gradient = Δh / ΔL
4. Nguyên tắc
Độ dẫn nước của vải địa kỹ thuật được xác định bởi dung tích dòng chảy phẳng trong khoảng thời gian xác định.
5. Thiết bị thử và thuốc thử
5.1. Tiêu chuẩn của nước dùng cho việc thử
Nước dùng cho việc thử phải bảo đảm các tiêu chuẩn sau:
+ Nước dùng cho việc thử phải loại bỏ hoàn toàn các chất cặn cơ học và khử bọt khí trong chân không, hàm lượng ôxy hòa tan trong nước không vượt quá 6 mg / lít và hàm lượng này phải được xác định tại điểm trước khi vào thiết bị thử.
+ Nhiệt độ của nước dùng cho việc thử được khống chế từ 180C đến 220C; khi tính toán kết quả nhiệt độ nước được hiệu chỉnh về 200C.
CHÚ THÍCH:
Bọt khí và các chất cặn trong nước đọng lại trên mẫu thử sẽ làm giảm tính chất thấm của mẫu. Do vậy, nếu không có thiết bị khử bọt khí, phải lọc nước nhiều lần qua một hoặc nhiều lớp vải mịn trước khi dùng.
5.2. Thiết bị đo độ dẫn nước
Trong tiêu chuẩn này giới thiệu hai loại thiết bị đo độ dẫn nước sử dụng hai dạng mẫu thử khác nhau là mẫu thử hình chữ nhật và mẫu thử hình tròn.
– Sơ đồ nguyên lý thiết bị đo độ dẫn đối với mẫu thử hình chữ nhật mô tả ở Hình 5.1.
– Sơ đồ nguyên lý thiết bị đo độ dẫn đối với mẫu thử hình tròn trình bày ở phần Phụ lục tham khảo.
Thiết bị đo độ dẫn nước của vải địa kỹ thuật phải đáp ứng các yêu cầu kỹ thuật sau:
5.2.1. Thiết bị phải có khả năng thiết lập các giá trị gradient thủy lực 0,1 và 1,0
5.2.2. Thiết bị phải có khả năng chịu được mức tải trọng nén lên lên mẫu thử tới 200 kPa.
5.2.3. Khoang chứa mẫu thử của thiết bị phải có cơ cấu lắp các tấm đệm ngăn cách giữa hai bề mặt mẫu thử và thành thiết bị bằng các tấm cao su xốp có độ dày khác nhau phù hợp với độ dày tương ứng của mẫu thử, các tấm cao su xốp này được bọc bởi các tấm màng đàn hồi ngăn không cho dòng chảy từ mẫu thử đi vào các tấm cao su xốp.
Cách chọn độ dày các tấm cao su xốp theo độ dày mẫu thử như sau:
+ Đối với mẫu thử có độ dày dưới 10 mm; lắp các tấm cao su xốp dày 10 mm lên mỗi mặt mẫu.
+ Đối với mẫu thử có độ dày từ 10 mm đến 25 mm; lắp các tấm cao su xốp có độ dày lớn hơn từ 1 lần đến 1,25 lần so với độ dày của mẫu lên mỗi mặt mẫu.
+ Đối với mẫu thử có độ dày lớn hơn 25 mm; lắp các tấm cao su xốp có độ dày 25 mm lên mỗi mặt mẫu.
5.2.4. Để tránh hiện tượng tắc nghẽn dòng nước ở đầu vào và đầu ra của mẫu thử, chiều dài của các tấm cao su xốp phải ngắn hơn chiều dài của khay gia tải một khoảng bằng 0,4 lần chiều dày của chúng.
5.2.5. Thiết bị thử phải có chiều rộng (w) nhỏ nhất là 0,2 m và chiều dài thủy lực thực (L) nhỏ nhất là 0,3 m và có khả năng thử được các loại mẫu có chiều dày tới 0,05 m. Khoang chứa mẫu của thiết bị phải có cơ cấu lắp được các tấm đệm bằng cao su xốp có chiều dài 25 mm lên hai mặt mẫu thử.
5.2.6. Các ống đo áp bố trí trước và sau mẫu thử để đo sự hao tổn chiều cao cột nước có phạm vi đo từ 0 mm đến 100 mm với độ chính xác tới 1 mm.
5.2.7. Ống lường xác định thể tích nước, chính xác tới 10 cm3.
5.2.8. Cân xác định khối lượng nước, chính xác tới 1%.
5.2.9. Đồng hồ đo tải trọng đặt vuông góc lên mẫu thử, chính xác tới 1%.
5.2.10. Đồng hồ đo hàm lượng ôxy hòa tàn trong nước, chính xác tới 0,1 mg / lít
5.2.11. Đồng hồ bấm giây, chính xác tới 0,1 s.
5.2.12. Nhiệt kế, chính xác tới 0,20Cư

CHÚ DẪN:
1 là khâu gia tải
2 là tải trọng
3 là các tấm cao su xốp
4 là mẫu thử
5 là các tấm màng đàn hồi
L là chiều dài mẫu thử
W là chiều rộng mẫu thử
V là thể tích nước đi qua mẫu thử sau thời gian t
Δh là tổn thất cột nước sau mẫu thử
Hình 5.1- Thiết bị đo độ dẫn nước với mẫu thử hình chữ nhật
6. Mẫu thử
6.1. Kích thước mẫu
+ Mẫu thử hình chữ nhật; kích thước phụ thuộc vào kích thước khoang chứa mẫu của thiết bị đo. Tuy nhiều chiều rộng mẫu phải bằng hoặc lớn hơn 0,2 m (W ≥ 0,2 m); Chiều dài mẫu phải bằng hoặc lớn hơn 0,3 m (L ≥ 0,3 m).
+ Mẫu thử lấy bằng khuôn lấy mẫu, nếu không có khuôn lấy mẫu có thể dùng ê-ke và kéo sắc chế tạo mẫu. Chú ý không để mẫu bị giãn hoặc nhăn khi chế tạo mẫu.
6.2. Số lượng mẫu thử
+ Số lượng mẫu thử trong từng trường hợp cụ thể được quy định theo TCVN 8222 : 2009; mục 6
+ Số lượng mẫu thử ít nhất trong mọi trường hợp là 6 mẫu, trong đó 3 mẫu có chiều dài song song với chiều dọc vải (md) và 3 mẫu có chiều dài song song với chiều ngang vải (cd).
7. Cách tiến hành
Phép thử thực hiện trong điều kiện tiêu chuẩn theo quy định của TCVN 8222 : 2009, cách tiến hành như sau:
7.1. Xác định và ghi nhiệt độ của nước dùng vào việc thử, chính xác tới 0,20C.
7.2. Xác định độ dày (Δx) của các mẫu thử theo TCVN 8220 : 2009 chính xác tới 0,01 mm. Sau đó ngâm mẫu vào trong nước tối thiểu 12 giờ ở nhiệt độ phòng để làm bão hòa và đuổi bọt khí ra khỏi mẫu
7.3. Chọn độ dày của các tấm cao su xốp và các tầm màng đàn hồi phù hợp với chiều dày mẫu thử theo chỉ dẫn tại mục 5.2.3
7.4. Lắp các tấm cao su xốp và các tấm màng đàn hồi theo chỉ dẫn Hình 7.1

CHÚ DẪN:
1 là khay gia tải
2 là mẫu thử
3 là các tấm cao su xốp
4 là các tấm màng đàn hồi
Hình 7.1 – Cơ cấu lắp các tấm đệm ngăn cách giữa bề mặt mẫu thử và thành thiết bị
7.5. Đặt tải trọng 2 kPa lên mẫu thử (bao gồm cả trọng lượng của khay gia tải), mở nước cho dòng chảy qua mẫu để làm bão hòa mẫu và loại bỏ bọt khí ra khỏi hệ thống.
7.6. Tăng tải trọng lên 20 kPa.
7.7. Điều chỉnh chiều cao cột nước của nguồn cấp để giá trị gradient thủy lực bằng 0,1
7.8. Giữ dòng nước chảy ổn định qua hệ thống ở điều kiện trên trong vòng 120 giây.
7.9. Tiến hành đo thể tích nước V11 (m3) đi qua mẫu trong thời gian t 11 (s).
CHÚ THÍCH:
Để tăng độ chính xác của phép đo cần lập lại nhiều lần theo chu kỳ và thời gian mỗi lần đo thể tích nước đi qua mẫu thử ít nhất là 5 giây; thể tích nước thu được ít nhất 0,5 lít. Đối với loại vật liệu có độ dẫn nước thấp; giới hạn thời gian đo lên tới 600 giây.
7.10. Tăng gradient thủy lực lên 1,0 giữ nguyên mức tải trọng 20 kPa; tiến hành đo thể tích nước V2.1 (m3) đi qua mẫu trong thời gian t2.1 (s).
7.11. Giảm gradient thủy lực xuống 0,1 và tăng mức tải trọng lên 50 kPa; tiến hành đo thể tích nước V1.2 (m3) đi qua mẫu trong thời gian t1.2 (s).
7.12. Tăng gradient thủy lực lên 1,0 giữ nguyên mức tải trọng 50 kPa; tiến hành đo thể tích nước V2.2 (m3) đi qua mẫu trong thời gian t2.2 (s).
7.13. Giảm gradient thủy lực xuống 0,1 và tăng mức tải trọng lên 100 kPa; tiến hành đo thể tích nước V1.3 (m3) đi qua mẫu trong thời gian t1.3 (s).
7.14. Tăng gradient thủy lực lên 1,0 giữ nguyên mức tải trọng 100 kPa; tiến hành đo thể tích nước V2.3 (m3) đi qua mẫu trong thời gian t2.3 (s).
7.15. Giảm gradient thủy lực xuống 0,1 và tăng mức tải trọng lên 200 kPa; tiến hành đo thể tích nước V1.4 (m3) đi qua mẫu trong thời gian t1.4 (s).
7.16. Tăng gradient thủy lực lên 1,0 giữ nguyên mức tải trọng 200 kPa; tiến hành đo thể tích nước V2.4 (m3) đi qua mẫu trong thời gian t2.4 (s).
7.16. Kết quả quá trình thử và tổng hợp số liệu.
Kết thúc quá trình trên thu được các giá trị V (m3) và t (s) ứng với gradient thủy lực 0,1 và 1,0 dưới các cấp tải trọng; 20 kPa; 50 kPa; 100 kPa; 200 kPa. Toàn bộ số liệu thử ghi vào Bảng 7.1 và Bảng 7.2.
Bảng 7.1 – Kết quả đo thể tích nước (V1) trong thời gian (t1) ứng với giá trị Gradient thủy lực 0,1 tại các cấp tải trọng 20 kPa; 50 kPa; 100 kPa và 200 kPa.
| Gradient 0,1 | ||||
| Cấp tải trọng | 20 kPa | 50 kPa | 100 kPa | 200 kPa |
| Thể tích nước qua mẫu V1 (m3) | V1.1 | V1.2 | V1.3 | V1.4 |
| Thời gian đo t1 (s) | t1.1 | t1.2 | T1.3 | t1.4 |
Bảng 7.2 – Kết quả đo thể tích nước (V2) trong thời gian (t2) ứng với giá trị Gradient thủy lực 1,0 tại các cấp tải trọng 20 kPa; 50 kPa; 100 kPa và 200 kPa.
| Gradient 1,0 | ||||
| Cấp tải trọng | 20 kPa | 50 kPa | 100 kPa | 200 kPa |
| Thể tích nước qua mẫu V2 (m3) | V2.1 | V2.2 | V2.3 | V2.4 |
| Thời gian đo t2 (s) | t2.1 | t2.2 | T2.3 | t2.4 |
8. Tính toán kết quả
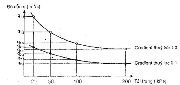
Mục đích của phép thử là xác định được độ dẫn nước (q) của từng mẫu thử và xây dựng đường cong quan hệ giữa chúng với gradient thủy lực 0,1 và 1,0 tại các cấp tải trọng 20 kPa; 50 kPa; 100 kPa và 200 kPa.
Các bước thực hiện:
8.1. Loại bỏ các kết quả dị thường theo quy định của TCVN 8222 : 2009 và thử lại các mẫu lấy từ một cuộn.
8.2. Tính độ dẫn nước đối với từng mẫu thử theo công thức:
q = V x αt / w x t (8.2.1)
Trong đó:
q là độ dẫn nước của từng mẫu tính bằng mét vuông trên giây (m2/s)
V là thể tích nước tính bằng mét khối (m3) chảy qua mẫu trong thời gian t
t là thời gian thử tính bằng giây (s)
w là chiều rộng mẫu thử tính bằng mét (m)
αt là hệ số hiệu chỉnh độ nhớt của nước theo nhiệt độ, tra trong Bảng 8.1
Bảng 8.1 – Hệ số hiệu chỉnh độ nhớt của nước theo nhiệt độ
| t0C | 12 | 13 | 14 | 15 | 16 | 17 | 18 | 19 | 20 | 21 | 22 | 23 | 24 |
| αt | 1,23 | 1,197 | 1,165 | 1,135 | 1,106 | 1,077 | 1,05 | 1,025 | 1 | 0,976 | 0,954 | 0,931 | 0,910 |
Trường hợp có thiết bị đo trực tiếp lưu lượng dòng chảy (C) đi qua mẫu thì độ dẫn nước tính theo công thức:
q = Q x αt / w (8.2.2)
Trong đó:
q là độ dẫn nước của từng mẫu thử tính bằng mét vuông trên giây (m2/s)
Q là lưu lượng dòng chảy qua mẫu thử tính bằng mét khối trên giây (m3/s)
αt Hệ số hiệu chỉnh độ nhớt của nước theo nhiệt độ, tra Bảng 8.1.
8.3. Xây dựng đường cong quan hệ giữa độ dẫn nước (q) với gradient thủy lực 0,1 và 1,0 tại các cấp tải trọng 20 kPa; 50 kPa; 100 kPa và 200 kPa, theo trình tự sau:
– Từ các giá trị thể tích nước chảy qua mẫu thử (V) trong thời gian (t) ứng với gradient 0,1 và 1,0 tại các cấp tải trọng 20 kPa; 50 kPa; 100 kPa và 200 kPa thu được trong quá trình thử ghi trong Bảng 7.1 và Bảng 7.2; tính các giá trị độ dẫn (q) tương ứng theo công thức (8.2.1) ta được kết quả ở Bảng 8.3.1 và Bảng 8.3.2
Bảng 8.3.1 – Độ dẫn nước (q1) tính theo kết quả đo thể tích nước (V1) và thời gian (t1) ứng với giá trị Gradient thủy lực 0,1 tại các cấp tải trọng 20 kPa; 50 kPa; 100 kPa và 200 kPa
| Gradient 0,1 | ||||
| Cấp tải trọng | 20 kPa | 50 kPa | 100 kPa | 200 kPa |
| Thể tích nước qua mẫu V1 (m3) | V1.1 | V1.2 | V1.3 | V1.4 |
| Thời gian đo t1 (s) | t1.1 | t1.2 | t1.3 | t1.4 |
| Độ dẫn nước q (m2/s) (Tính theo công thức 8.2.1) | q1.1 | q1.2 | q1.3 | q1.4 |
Bảng 8.3.2 – Độ dẫn nước (q2) tính theo kết quả đo thể tích nước (V2) và thời gian (t2) ứng với giá trị Gradient thủy lực 1,0 tại các cấp tải trọng 20 kPa; 50 kPa; 100 kPa và 200 kPa
| Gradient 1,0 | ||||
| Cấp tải trọng | 20 kPa | 50 kPa | 100 kPa | 200 kPa |
| Thể tích nước qua mẫu V2 (m3) | V2.1 | V2.2 | V2.3 | V2.4 |
| Thời gian đo t2 (s) | t2.1 | t2.2 | t2.3 | t2.4 |
| Độ dẫn nước q (m2/s) (Tính theo công thức 8.2.1) | q2.1 | q2.2 | q2.3 | q2.4 |
Từ các số liệu trong Bảng 8.3.1 và Bảng 8.3.2 vẽ đường cong quan hệ giữa độ dẫn nước (q) với gradient thủy lực 0,1 và 1,0 tại các cấp tải trọng 20 kPa; 50 kPa; 100 kPa và 200 kPa (Xem Hình 8.3).

Hình 8.3 – Đường quan hệ giữa độ dẫn, tải trọng và gradient thủy lực
8.5. Các giá trị tiêu biểu
Các giá trị tiêu biểu của độ dẫn nước tính theo TCVN 8222 : 2009 như sau:
8.5.1 Độ dẫn nước được tính trung bình của các giá trị đo trên mỗi mẫu thử chính xác tới 0,01 (m2/s)
8.5.2. Hệ số dẫn nước được tính trung bình của các giá trị đo trên mỗi mẫu thử, chính xác tới 0,1 x 10-1 m/s)
8.5.3. Độ lệch chuẩn độ dẫn nước, chính xác tới 0,001 (m2/s)
Độ lệch chuẩn hệ số dẫn nước, chính xác tới 0,01 x 10-3 m/s.
8.5.4. Hệ số biến thiên, chính xác tới 0,1%
CHÚ THÍCH:
Các kết quả dị thường bị loại bỏ theo quy định tại mục 8.1 và không đưa vào tính toán, nhưng phải ghi chép các kết quả này và báo cáo riêng.
8.6. Những yêu cầu đối với việc thử tiếp theo
8.6.1. Khả năng lặp lại kết quả
Khi hệ số biến thiên tính theo quy định tại mục 8.5.4 vượt quá 20%, cần tăng thêm số lượng mẫu thử để thu được kết quả nằm trong phạm vi sai lệch cho phép theo quy định của TCVN 8222 : 2009 và số lượng mẫu thử tính theo TCVN 8222 : 2009; mục 6.
8.6.2 Các giới hạn sai lệch
Kiểm tra các kết quả thu được theo quy định tại mục 8.5 để đảm bảo các giới hạn sai số thực tế không vượt quá giới hạn quy định. Sai số được coi là thỏa mãn nếu số lần thử tính theo TCVN 8222 : 2009 không vượt quá thực tế. Nghĩa là các kết quả thử là thỏa mãn khi thử đủ số lần và đáp ứng yêu cầu của các điều 8.6.1 và 8.6.2.
9. Báo cáo thử nghiệm
Báo cáo thử nghiệm bao gồm các nội dung sau:
– Viện dẫn tiêu chuẩn này;
– Số, ký hiệu thiết bị dùng để thử;
– Thử nguyên dùng tính toán kết quả;
– Các giá trị tiêu biểu của phép thử;
– Các giá trị riêng lẻ như: kết quả thử của từng mẫu;
– Thông tin chi tiết về các kết quả coi là dị thường;
– Các thay đổi về điều kiện, quy trình thử so với tiêu chuẩn nếu có;
– Thông tin chi tiết về các kết quả bị loại bỏ, kể cả nguyên nhân không dùng các kết quả đó để đánh giá các trị số tiêu biểu.
– Các thông tin về mẻ mẫu, mẫu thử, điều kiện thử như:
+ Tên đơn vị, cá nhân gửi mẫu.
+ Tên mẫu, ký hiệu mẫu.
+ Tên công trình, hạng mục, vị trí lấy mẫu, ngày, tháng, năm lấy mẫu, gửi mẫu, nếu mẫu lấy ngoài công trường lắp đặt, thi công và phải có chữ ký xác nhận của tư vấn giám sát.
+ Khối lượng mẫu
– Ngày tháng năm thử mẫu
– Kiểu điều hòa mẫu.
– Nhiệt độ, độ ẩm khi điều hòa mẫu và khi thử mẫu.
10. Lưu mẫu
– Mẫu lưu có diện tích nhỏ nhất là 1m2.
– Lưu mẫu trong điều kiện tiêu chuẩn theo quy định của TCVN 8222 : 2009.
– Thời gian lưu mẫu tối thiểu là 28 ngày.
(tham khảo)
Thiết bị xác định độ dẫn nước của vải địa kỹ thuật sử dụng mẫu thử hình tròn
1. Sơ đồ nguyên lý thiết bị thử
Sơ đồ nguyên lý thiết bị thử sử dụng mẫu thử hình tròn mô tả trên Hình H1.

CHÚ DẪN
1 là khay gia tải
2 là tải trọng vuông góc
3 là mẫu thử
4 là các tấm màng đàn hồi
5 là các tấm cao su xốp
R là bán kính mẫu thử
V là thể tích nước đi qua mẫu thử trong thời gian t
h là tổn thất cột nước trên mẫu thử
Hình H1 – Thiết bị đo độ dẫn nước với mẫu thử hình tròn
Thiết bị thử: Gồm hai đĩa kim loại có bán kính R = 150 mm áp lên hai mặt của mẫu thử. Tại tâm của đĩa dưới có 1 lỗ cấp nước bán kính R0 = 25 mm. Giữa các đĩa và mẫu thử lắp các tấm đệm ngăn cách là các tấm cao su xốp và màng đàn hồi, cơ cấu lắp ráp chúng giống như trong thiết bị sử dụng mẫu thử hình chữ nhật (xem Hình 7.1).
2. Mẫu thử
– Mẫu thử hình tròn bán kính R = 150 mm ± 0,1 mm
– Tâm mẫu dập lỗ tròn bán kính R0 = 25 mm ± 0,1 mm
– Số lượng: 6 mẫu.
3. Tính toán kết quả
Độ dẫn nước tính theo công thức:
q = (V x α1 / 2π x Δh x t) ln (R / R0)
TCVN 8485:2010 vải địa kỹ thuật
tcvn 8871-6:2011 vải địa kỹ thuật
Trong đó:
q là độ dẫn nước của từng mẫu thử tính bằng mét vuông trên giây (m2/s)
V là thể tích nước chảy qua mẫu trong thời gian thử tính bằng mét khối (m3)
t là thời gian thử tính bằng giây (s)
α1 là hệ số hiệu chỉnh độ nhớt của nước theo nhiệt độ không thứ nguyên, tra trong Bảng 8.1
R là bán kính mẫu thử tính bằng mét (m)
R0 là bán kính lỗ nước chảy vào tính bằng mét (m)
Δh là tổn hao cột nước trên mẫu thử tính bằng mét (m)
THƯ MỤC TÀI LIỆU THAM KHẢO
[1] ISO 12958 : 1995 E “Geotextiles and geotextile – related products – Determination of water flow capacity in the plane. [2] ASTM – D 4716 – 01: “Standard Test Method for Determining the (in – plane) Flow Rate per Unit Width and Hydraulic Transmissivity of a Geosynthetic Using a Constant Head.







































































