Blog, Hồ Biogas & Bạt nhựa HDPE, Màng chống thấm HDPE, Màng chống thấm HDPE HSE, Tài liệu kỹ thuật, Tài liệu màng chống thấm HDPE
TIÊU CHUẨN QUỐC GIA TCVN 11322:2018 CÔNG TRÌNH THỦY LỢI – MÀNG CHỐNG THẤM HDPE – THIẾT KẾ, THI CÔNG, NGHIỆM THU
CÔNG TRÌNH THỦY LỢI – MÀNG CHỐNG THẤM HDPE – THIẾT KẾ, THI CÔNG, NGHIỆM THU
Hydraulic structures – HDPE geomembrane – Design, Constructinon, Acceptance
Lời nói đầu
TCVN 11322 : 2018 do Viện Khoa học Thủy lợi Việt Nam biên soạn, Bộ Nông nghiệp và Phát triển Nông thôn đề nghị, Tổng cục Tiêu chuẩn Đo lường Chất lượng thẩm định, Bộ Khoa học và Công nghệ công bố.
CÔNG TRÌNH THỦY LỢI – MÀNG CHỐNG THẤM HDPE – THIẾT KẾ, THI CÔNG, NGHIỆM THU
Hydraulic structures – HDPE geomembrane – Design, Construction, Acceptance
1 Phạm vi áp dụng
– Tiêu chuẩn này quy định các yêu cầu về thiết kế, thi công, nghiệm thu màng chống thấm HDPE để chống thấm công trình thủy lợi bằng đất (đập đất, đập đất đá hỗn hợp, kênh, ao, hồ) xây dựng mới và nâng cấp sửa chữa;
– Tiêu chuẩn này áp dụng cho đập có chiều cao nhỏ hơn 15m, nếu sử dụng cho đập có quy mô lớn hơn phải có luận chứng cụ thể.
– Màng chống thấm HDPE quy định trong tiêu chuẩn này chỉ có tính năng chống thấm (hoặc ngăn chặn thẩm thấu chất ô nhiễm) cho công trình.
2 Tài liệu viện dẫn
Các tài liệu viện dẫn sau rất cần thiết cho việc áp dụng tiêu chuẩn này. Đối với các tài liệu viện dẫn ghi năm công bố thì áp dụng bản được nêu. Đối với các tài liệu viện dẫn không ghi năm công bố thì áp dụng phiên bản mới nhất bao gồm cả sửa đổi, bổ sung (nếu có).
– TCVN 8216:2009, Thiết kế đập đất đầm nén.
– TCVN 8222:2009, Vải địa kỹ thuật – Quy định chung về lấy mẫu, thử mẫu và xử lý thống kê.
3 Thuật ngữ và định nghĩa
Trong tiêu chuẩn này, áp dụng các thuật ngữ và định nghĩa sau:
3.1 Màng chống thấm HDPE (HDPE geomembrane)
Màng chống thấm HDPE là màng polymer tổng hợp ở dạng cuộn hoặc tấm, mỏng, dễ uốn, có hệ số thấm thấp (K = 10-12 + 10-16 cm/s), được sử dụng để chống thấm cho công trình đất, đá, bê tông.
3.2 Rãnh neo vải (Anchoring trench)
Rãnh neo vải là rãnh đất chôn mép màng chống thấm có tác dụng neo, giữ cho màng ổn định không bị tuột hay chuyển dịch.
3.3 Vật liên kết (Coupling object)
Vật liên kết là các vật làm bằng polymer để liên kết màng chống thấm HDPE với các kết cấu khác như bê tông, gạch, đá xây
3.4 Lớp bảo vệ (Protecting cover)
Lớp bảo vệ là lớp vật liệu có tác dụng chống lại các tác động phá hoại trực tiếp như sóng, mưa, vật nổi, vật sắc nhọn.
3.6 Lớp phủ (Blanket)
Lớp phủ là lớp đất phía bên ngoài màng chống thấm có tác dụng bảo vệ khỏi những tác động xấu từ bên ngoài và áp lực nước đẩy ngược từ bên trong.
4.1 Lựa chọn màng HDPE chống thấm cho công trình thủy lợi
Chiều dày màng chống thấm HDPE khi sử dụng trong công trình thủy lợi được lựa chọn dựa vào điều kiện thi công, tính chất vật liệu đất và thỏa mãn yêu cầu trong Bảng 1.
Bảng 1 – Chiều dày tối thiểu màng chống thấm HDPE trong công trình thủy lợi
| Loại công trình | Chiều dày tối thiểu mm |
| Công trình tạm thời | 0,25 |
| Công trình sử dụng lâu dài | 0,5 |
Khi lựa chọn màng chống thấm HDPE, các tính chất cơ lý và kích thước có thể tham khảo phụ lục E.
4.1.1 Sử dụng màng HDPE chống thấm cho đập đất:
4.1.1.1 Điều kiện áp dụng:
Có thể sử dụng màng HDPE để chống thấm cho đập đất, đập đất đá hỗn hợp xây mới và nâng cấp sửa chữa mà vật liệu đất đắp có tính thấm mạnh.
4.1.1.2 Hình thức bố trí:
Các hình thức bố trí màng chống thấm HDPE cho đập đất được thể hiện trên hình 1.a, 1.b, 1.c, 1.d.

Hình 1.a – Màng chống thấm ở thượng lưu có lớp phủ – 1

Hình 1.b – Màng chống thấm ở thượng lưu có lớp phủ – 2

Hình 1.c – Màng chống thấm ở thượng lưu có lớp bảo vệ

Hình 1.d – Màng chống thấm ở giữa thân đập
– Hình thức bố trí hình 1.a, 1.b và 1.d dùng cho đập mới;
– Hình thức bố trí hình 1.a, 1.b và 1.c dùng cho đập nâng cấp sửa chữa.
– Để đảm bảo điều kiện thi công cơ giới thì lớp phủ ở hình 1.a và 1.b phải có chiều dày không nhỏ hơn 3m.
CHÚ THÍCH:
Cấu tạo chi tiết neo vải (rãnh neo) xem 4.3.1
4.1.1.3 Tính toán màng HDPE cho đập đất:
a) Các nội dung cần tính toán:
Khi thiết kế màng HDPE cho đập đất cần thực hiện các nội dung tính toán sau:
– Tính toán lựa chọn các thông số màng HDPE: chiều dày, hệ số thấm, cường độ chịu kéo, sức kháng thủng.
– Tính toán thấm qua đập và nền để xác định đường bão hòa, gradien thấm, lưu lượng thấm.
– Tính toán ổn định màng chống thấm HDPE và lớp phủ phía trên (về trượt, đẩy nổi, chọc thủng)
b) Trường hợp tính:
Các trường hợp tính toán áp dụng theo TCVN 8216:2009.
4.1.2 Sử dụng màng HDPE chống thấm cho kênh, mương:
4.1.2.1 Điều kiện áp dụng:
Có thể sử dụng màng HDPE để chống thấm cho kênh, mương đi qua vùng địa chất có tính thấm mạnh hoặc kênh vận chuyển nước có chứa chất thải, chất ô nhiễm.
4.1.2.2 Hình thức bố trí:
Trong thiết kế cần phân tích các điều kiện địa chất nền, yêu cầu chống thấm, yêu cầu bảo vệ để lựa chọn một trong các hình thức bố trí màng HDPE cho kênh, mương như hình 2a, 2b, 2c, 2d.

CHÚ DẪN:
(a) Bố trí màng chống thấm không có lớp bảo vệ;
(b) Bố trí màng chống thấm có lớp bảo vệ phía trên;
(c) Bố trí màng chống thấm có vải địa kỹ thuật lót dưới;
(d) Bố trí màng chống thấm có vải địa kỹ thuật lót trên, dưới và có lớp bảo vệ phía trên.
Hình 2 – Bố trí màng HDPE chống thấm cho kênh, mương
CHÚ THÍCH:
1) Hình thức bố trí màng HDPE cho mái kênh, mương chỉ áp dụng khi nền có hệ số thấm nhỏ.
2) Bố trí màng chống thấm theo hình 2d chỉ áp dụng trong trường hợp đặc biệt hoặc công trình có tính chất quan trọng ảnh hưởng đến kinh tế, xã hội và môi trường xung quanh.
4.1.3 Sử dụng màng HDPE chống thấm cho ao, hồ trữ nước và chứa chất thải:
4.1.3.1 Điều kiện áp dụng:
Có thể sử dụng màng HDPE để chống thấm cho ao, hồ trữ nước trên nền địa chất có tính thấm mạnh hoặc ao, hồ chứa chất thải.
Phạm vi bên dưới màng HDPE, phải thiết kế đồng bộ hệ thống thoát khí và hệ thống tiêu thoát nước thấm nhằm tránh hiện tượng đẩy ngược của nước, không khí lên màng chống thấm. Vật liệu làm rãnh tiêu thoát nước thấm và tiêu thoát khí có thể tham khảo Hình vẽ 4, 5.
4.1.3.2 Hình thức bố trí màng chống thấm HDPE
Các hình thức bố trí màng chống thấm HDPE cho ao hồ được thể hiện trên hình 3, 6.

Hình 3 – Bố trí màng chống thấm HDPE cho ao, hồ
![]() | ![]() |
| Hình 4 – Chi tiết rãnh tiêu ngầm | Hình 5 – Chi tiết ống thoát nước, khí |

Hình 6 – Cắt ngang bố trí màng chống thấm HDPE cho ao, hồ
4.2 Các hình thức bảo vệ màng chống thấm HDPE
4.2.1 Chỉ dẫn chung:
Trên vùng đất chứa nhiều sỏi sạn, đá dăm hoặc những nơi chịu tác động như đá lăn, sóng gió, va chạm của vật nổi có nguy cơ làm thủng, hư hại màng chống thấm HDPE thì cần phải thiết kế lớp bảo vệ để tránh những tác động này.
Lớp bảo vệ có tác dụng bảo vệ màng chống thấm khỏi các tác động cơ học ngắn hạn như sự chọc thủng của các vật sắc nhọn, tải trọng thi công và tác động mang tính chất dài hạn gây ra hiện tượng kéo dãn, lão hóa qua quá trình sử dụng.
Các hình thức lớp bảo vệ được lựa chọn dựa trên cấu trúc, đặc điểm địa chất của công trình và loại tải trọng tác động.
4.2.2 Bảo vệ phía dưới màng chống thấm:
– Bảo vệ bằng vải địa kỹ thuật: Áp dụng khi đất không có sỏi sạn, dị vật có nguy cơ gây hại cho màng HDPE.
– Bảo vệ bằng cát kết hợp vải địa kỹ thuật: Trường hợp nền có nhiều khe nứt, nhiều vật sắc nhọn, nền là vật liệu rỗng, xốp thì rải một lớp vải địa kỹ thuật sau đó đổ cát lên trên tạo thành lớp bảo vệ phía dưới màng chống thấm
CHÚ THÍCH:
Với công trình khi nền đất tốt và không có những dị vật có nguy cơ gây hư hại cho màng chống thấm thì có thể không cần lớp bảo vệ phía dưới mà chỉ cần đầm chặt đất sau đó rải trực tiếp màng chống thấm HDPE lên.
4.2.3 Bảo vệ phía trên màng chống thấm:
– Bảo vệ bằng lớp đất phủ trên: Sử dụng lớp đất phủ bảo vệ mặt trên của màng chống thấm, độ dày của lớp này phải được tính toán cho từng điều kiện cụ thể đảm bảo sự bền vững và ổn định trong quá trình khai thác, vận hành.
– Bảo vệ bằng bê tông cốt thép: Thiết kế thành từng ô, phía dưới trải một lớp đệm bằng vải địa kỹ thuật hoặc vải bạt dứa.
– Bảo vệ bằng các vật liệu khác như là lớp cấu trúc tổ ong (Geocell, Geoweb) bằng vật liệu HDPE được đổ đá hoặc bê tông
CHÚ THÍCH:
Trong một số trường hợp có thể sử dụng thêm vải địa kỹ thuật hoặc vải bạt dứa ở giữa lớp phủ bằng đất và màng chống thấm để tăng ma sát, duy trì sự ổn định của lớp phủ.
Khi có yêu cầu ổn định lâu dài thì có thể dùng biện pháp bảo vệ màng chống thấm từ hai phía
4.3 Chi tiết các hình thức liên kết của màng HDPE
4.3.1 Cấu tạo rãnh neo (ghim màng chống thấm)
a) Hình thức bố trí
Các hình thức bố trí rãnh neo màng chống thấm như trên hình 7.

Hình 7 – Chi tiết rãnh neo màng chống thấm HDPE
b) Yêu cầu cấu tạo
– Phần vải trong rãnh neo không được có mối hàn, không có những hình dạng bất thường để tránh phá hủy vật liệu;
– Đất đổ vào rãnh neo sau khi lắp đặt màng chống thấm phải được đầm chặt với K ≥ 0,95 (việc đổ đất phải tiến hành ngay sau khi trải màng địa kỹ thuật).
4.3.2 Tiếp nối màng chống thấm với các kết cấu khác:
4.3.2.1 Tiếp nối màng chống thấm với kết cấu bê tông, gạch, đá xây:
a) Kết nối bằng vật liên kết
– Vật liên kết là các chi tiết bằng polymer chế tạo sẵn, có cùng thành phần cấu tạo với màng chống thấm, kiểu dáng rất đa dạng (dạng chữ I, C, E, Omega) và nhiều kích thước khác nhau;
– Vật liên kết được lắp đặt đồng thời trong khi thi công các kết cấu bêtông, gạch đá chẳng hạn polylock gắn vào cốt thép hoặc cốp pha khi đổ bê tông.
![]() | ![]() |
| Hình 8 – Các dạng vật liệu liên kết | Hình 9 – Kết nối bằng Polylock |
b) Kết nối bằng bu lông, nẹp và gioăng cao su.

Hình 10 – Kết nối bằng bulông, nẹp và gioăng cao su
– Gioăng cao su chế tạo có thành phần phù hợp với mục đích chống thấm: Để chống thấm công trình trữ chất thải và để chống thấm hồ chứa thì dùng gioăng là cao su Neoprene hoặc Nitrine. Đối với bể nước sinh hoạt thì trong thành phần phụ gia gioăng cao su không có chất độc hại;
– Nẹp, bu lông, vòng đệm chế tạo từ thép không rỉ.
4.3.2.2 Tiếp nối màng chống thấm với đường ống:
a) Sơ đồ nối tiếp màng chống thấm với đường ống:

Hình 11 – Sơ đồ nối tiếp màng chống thấm với đường ống
b) Các chi tiết để nối màng chống thấm với đường ống chế tạo bằng các loại vật liệu (thép, bêtông, nhựa) gồm:

Hình 12 – Kết nối màng chống thấm với đường ống
– Tấm bê tông cốt thép có độ dày nhỏ nhất là 0,15m, dạng tròn, vuông, chữ nhật trên mặt phẳng vuông góc với trục ống.
– Polylock lắp đặt khi thi công tấm bêtông, dạng vuông, chữ nhật, đa giác đều, tâm trùng với tâm ống;
– Nẹp chế tạo bằng thép không rỉ.
CHÚ THÍCH:
Trường hợp thành phần cấu tạo của ống cùng loại với thành phần cấu tạo của màng (ví dụ: ống HD và màng HDPE) thì kết nối trực tiếp giữa màng chống thấm với ống bằng phương pháp hàn đùn nhưng vẫn phải giữ nguyên hệ nối tiếp trung gian gồm tấm bêtông cốt thép và vật liên kết (hoặc bu lông-nẹp-gioăng), bởi vì nhờ có hệ nối tiếp trung gian mà sự chuyển vị của màng khi gia tải (như: đổ vật liệu mới, tích nước lần đầu…) không làm gẫy ống, nhất là đối với những ống nằm trên mặt phẳng nghiêng.
5.1 Công tác chuẩn bị trước khi thi công
5.1.1 Yêu cầu về vật liệu
Bao gói sản phẩm màng chống thấm HDPE trước khi chuyển đến công trường phải có đầy đủ các hồ sơ kỹ thuật sau:
– Bản khai ngày sản xuất;
– Các chứng chỉ xác nhận rằng: tất cả các sản phẩm màng chống thấm được cung cấp chỉ bởi một nhà cung cấp;
– Bản xác nhận không sử dụng polymer tái chế trong nhựa nền;
– Các chứng chỉ kiểm soát chất lượng do nhà sản xuất phát hành;
– Các báo cáo thí nghiệm của nhà sản xuất;
– Các kết quả thí nghiệm của các phòng thí nghiệm hợp chuẩn (làm tài liệu so sánh với báo cáo thí nghiệm của nhà sản xuất) và các chứng chỉ xác nhận màng chống thấm đạt yêu cầu chất lượng của sản phẩm;
– Bản hướng dẫn vận chuyển, giao hàng, bảo quản, bốc dỡ màng chống thấm;
– Bản hướng dẫn lắp đặt màng chống thấm;
– Lưu mẫu để rà xét.
5.1.2 Yêu cầu kỹ thuật trong công tác vận chuyển, bốc dỡ, bảo quản màng chống thấm tại công trường:
– Phải sử dụng các phương tiện chuyên dụng để vận chuyển màng chống thấm từ kho trữ, nơi sản xuất đến công trường nhằm tránh các hư hại do tác động cơ học và thời tiết.
– Tại công trường phải sử dụng các thiết bị phù hợp để di chuyển các cuộn màng chống thấm từ nơi tập kết đến vị trí lắp đặt bảo đảm không làm hư hại mặt bằng, không làm thủng rách các cuộn màng chống thấm, không kéo lê các cuộn màng chống thấm trên mặt đất.
– Các thiết bị bốc dỡ không được phép sử dụng cáp thép mà phải dùng cáp mềm dạng băng vải.
– Nơi tập kết các cuộn màng chống thấm tại công trường phải được lựa chọn kỹ lưỡng và che phủ tránh mưa, nắng, tránh xa khu vực có nguy cơ cháy nổ, kho chứa dầu, mỡ, bụi bẩn, bùn nước và thuận tiện cho việc chuyên chở tới vị trí lắp đặt.
– Không chồng các cuộn màng chống thấm quá 3 tầng.
5.1.3 Yêu cầu kỹ thuật đối với các thiết bị thi công, các thiết bị phục vụ cho công tác nghiệm thu tại hiện trường:
5.1.3.1 Yêu cầu đối với các thiết bị thi công:
Các thiết bị thi công bao gồm: Máy hàn kép, máy hàn đùn, máy thổi khí nóng, máy mài và các thiết bị, dụng cụ phụ trợ.
– Máy hàn kép (hay còn gọi là máy hàn nêm nóng) phải có đồng hồ đo và khống chế nhiệt độ hàn, áp lực nén và tốc độ hàn. Đường hàn phải bảo đảm kênh khí thông suốt giúp cho việc nghiệm thu bằng thí nghiệm áp lực khí được dễ dàng. Mặt cắt ngang đường hàn kép trình bày ở hình 15.
– Máy hàn đùn phải có đồng hồ đo và khống chế nhiệt độ tại đầu đùn. Kích thước đường hàn đùn trình bày ở hình 16.
– Khi thi công phải có đủ máy dự phòng và phụ tùng thay thế để bảo đảm tính liên tục trong quá trình thi công nhằm đáp ứng được kế hoạch và tiến độ trong quá trình thi công.
5.1.3.2 Các thiết bị phục vụ thi công:
Các thiết bị phục vụ thi công bao gồm: hệ thống chiếu sáng, các thiết bị nâng, di chuyển, rải màng, máy phát điện. Các thiết bị này phải được trang bị các phương tiện phòng chữa cháy và có biện pháp phòng ngừa dầu mỡ rò rỉ lên bề mặt màng chống thấm. Không được phép sử dụng phương tiện di chuyển bằng bánh xích mà phải thay bằng bánh lốp cao su.
5.1.3.3 Các dụng cụ, vật tư cần phải có trong quá trình thi công:
Khi thi công cần chuẩn bị sẵn các dụng cụ, vật tư như sau:
Cọc tre hoặc gỗ, bao tải cát, thang dây, thước đo, dao kéo, vật mẫu để đánh dấu khoảng cách chồng mí, bút sơn trắng (thường dùng bút xoá), các dụng cụ để kéo như puller, kìm,, dây thừng, các dụng cụ để vệ sinh bề mặt màng chống thấm: vải mềm, miếng xốp.
5.1.3.4 Các thiết bị thí nghiệm hiện trường:
Các thiết bị dùng cho thí nghiệm hiện trường bao gồm:
– Máy kéo xách tay để kiểm tra chất lượng mối hàn thử từ đó lựa chọn các thông số kỹ thuật cho các máy hàn đối với từng ca làm việc gồm: nhiệt độ hàn, áp lực nén và tốc độ hàn. Yêu cầu kỹ thuật của máy kéo xách tay: lực kéo tối thiểu là 1200 N và đường hành trình của ngàm kẹp di động ≥ 50cm.
– Thiết bị thí nghiệm chân không, thiết bị thí nghiệm áp lực khí, thiết bị thí nghiệm tia lửa điện phục vụ cho quá trình nghiệm thu tại hiện trường phải được kiểm tra hiệu chuẩn.
– Khuôn cắt mẫu.
5.2 Yêu cầu trong quá trình thi công
5.2.1 Yêu cầu kỹ thuật bề mặt trước khi rải màng
a) Bề mặt trước khi rải màng phải đạt các yêu cầu kỹ thuật sau:
– Phẳng, nhẵn, chắc (đầm, nén, lu, lèn đúng yêu cầu kỹ thuật) và không đọng nước.
– Phải dọn sạch tất cả các vật liệu có nguy cơ gây hại cho màng chống thấm.
-Tại các vị trí thay đổi độ dốc phải bo tròn tối thiểu đến bán kính 0,15m.
b) Rãnh neo:
– Nếu không có chi tiết thiết kế, hình dạng và kích thước rãnh neo phải thi công như hình 13.
– Mép của rãnh neo tiếp xúc với màng chống thấm phải được bo tròn để tránh làm rách màng khi bị kéo căng.
– Lắp đặt màng chống thấm đến đâu phải đổ đất vào rãnh neo đến đó.
– Đất đổ vào rãnh neo phải đầm chặt theo yêu cầu thiết kế nhưng tối thiểu K ≥ 0,9.
Kích thước tính bằng : m

Hình 13 – Rãnh neo
5.2.2 Các bước chuẩn bị các tấm màng trước khi lắp đặt
– Chọn một khoảng đất phẳng, nhẵn, đủ rộng để tập kết các cuộn màng chống thấm và làm nơi chế tạo các tấm panel lắp đặt. Chọn vị trí lắp đặt tấm màng đầu tiên và xác định hướng lắp đặt các tấm tiếp theo.
– Vẽ sơ đồ lắp đặt trên nhật ký thi công bao gồm thứ tự lắp đặt, vị trí và kích thước từng tấm (đánh số theo thứ tự).
– Số liệu đo đạc từ hiện trường được chuyển về nơi tập kết và chế tạo các tấm panel. Sau khi chế tạo xong, các thông số được viết trực tiếp lên bề mặt từng cuộn rồi xếp theo thứ tự lắp đặt chờ vận chuyển tới vị trí lắp đặt ngoài công trường.
– Trong quá trình lưu tại công trường và trong quá trình thi công lắp đặt cần giảm thiểu tối đa thời gian màng HDPE tiếp xúc với ánh mặt trời, ảnh hưởng đến tuổi thọ; nếu thời gian quá lâu cần có biện pháp che phủ.
5.2.3 Lắp đặt (trải màng)
a) Nguyên tắc chung:
– Trải màng trên mái dốc:
Các tấm panel phải trải song song với hướng mái dốc (các đường hàn nối giữa các tấm với nhau cũng song song với hướng mái dốc). Cạnh cuối mỗi tấm panel phải cách chân khay ít nhất là 2m. Xem hình 14.
Kích thước tính bằng : m

CHÚ DẪN:
a – rãnh neo; b – đường chân khay
Hình 14 – Trải màng tại các góc
– Trải màng trên mặt phẳng:
Trên mặt phẳng màng được trải theo hướng bất kỳ, song phải tính toán sao cho tổng độ dài các đường hàn nối là ngắn nhất.
– Tại các góc: Trải màng theo hình 14
b) Khoảng cách chồng mí:
Khoảng cách chồng mí theo vị trí đã đánh dấu sẵn của nhà sản xuất. Đối với những sản phẩm không được đánh dấu sẵn khoảng cách chồng mí thì dùng vật mẫu để đánh dấu. Khoảng cách chồng mí giữa các tấm màng phụ thuộc vào yêu cầu của từng loại máy hàn, thường từ 100mm đến 150mm.
5.2.4 Các yêu cầu kỹ thuật khi hàn nối
5.2.4.1 Các sơ đồ hàn nối:
a) Đường hàn kép
Kích thước tính bằng : m

CHÚ DẪN:
1 – đường hàn; 2 – kênh khí;
0,1m đến 0,15m là khoảng cách chồng mí.
Hình 15 – Đường hàn kép
b. Đường hàn đùn
Kích thước tính bằng : m

CHÚ DẪN:
1 – đường hàn đùn; 2 – tấm màng phía trên; 3 – tấm màng phía dưới;
0,075m đến 0,1m là khoảng cách chồng mí.
Hình 16 – Đường hàn đùn
5.2.4.2 Hàn thử:
a) Đối với máy hàn kép:
– Ngay tại công trường cắt 2 tấm dài 5m, rộng 0,3m, chọn các thông số cho máy hàn gồm: nhiệt độ, tốc độ và áp lực nén. Khởi động và chờ cho máy ổn định tiến hành hàn 2 tấm đã được chuẩn bị sẵn với nhau ta được mẫu hàn thử. Sau khi mẫu nguội loại bỏ hai đầu mẫu, dùng khuôn hoặc các dụng cụ đo cắt (thước, êke, dao kéo) chế tạo 10 mẫu thử mỗi mẫu có kích thước: rộng 0,025m dài 0,15m.
– Lấy 5 mẫu thử độ bền kháng kéo và 5 mẫu thử độ bền kháng bóc trên máy kéo xách tay ngay tại công trường.
– Đem giá trị trung bình của mỗi dạng thử so sánh với Bảng 2. Nếu độ bền kháng kéo và độ bền kháng bóc bằng hoặc lớn hơn giá trị cho trong Bảng 2 thì xem như mối hàn đạt yêu cầu và lấy các thông số đã chọn(nhiệt độ, tốc độ và áp lực nén) cho các máy hàn của ca hàn hôm đó và các thông số này được duy trì cho đến lần hàn thử tiếp theo. Nếu không đạt thì điều chỉnh lại các thông số cho máy hàn và hàn thử mẫu mới.
b) Đối với máy hàn đùn:
Làm tương tự như máy hàn kép, nhưng độ dài đường hàn là 1m.
Bảng 2 – Độ bền của mối hàn
| Độ bền kháng kéo | Độ bền kháng bóc | ||||
| Tên sản phẩm | Độ dày | Hàn đùn | Hàn kép | Hàn đùn | Hàn kép |
| m | kN/m | kN/m | kN/m | kN/m | |
| Màng HDPE nhẵn 2 mặt | 1,0×10-3 | 14,1 | 14,1 | 9,1 | 11,4 |
| Màng HDPE nhẵn 2 mặt | 1,5×10-3 | 21,2 | 21,2 | 13,7 | 17,2 |
| Màng HDPE nhẵn 2 mặt | 2,0×10-3 | 28,4 | 28,4 | 18,2 | 22,8 |
| Màng HDPE nhám 2 mặt | 1,0×10-3 | 9,8 | 9,8 | 8,4 | 8,4 |
| Màng HDPE nhám 2 mặt | 1,5×10-3 | 14,7 | 14,7 | 12,6 | 12,6 |
| Màng HDPE nhám 2 mặt | 2,0×10-3 | 19,6 | 19,6 | 16,8 | 16,8 |
c) Số lượng hàn thử:
Số lượng hàn thử ít nhất 1 lần trong ngày vào lúc bắt đầu làm việc, và khi nhiệt độ môi trường thay đổi quá 10°C so với lần hàn thử trước đó.
5.2.4.3 Hàn đại trà:
a) Chỉ dẫn chung
– Tùy thuộc vào qui mô công trường mà bố trí số lượng máy hàn. Mỗi máy hàn có ít nhất 3 công nhân vận hành trong đó có 1 thợ hàn, 1 người làm vệ sinh diện tích hàn và 1 người phụ trách điện.
– Cán bộ phụ trách thi công phải lên lịch trình cho từng máy và bàn giao khu vực thi công hết sức cụ thể để tránh bỏ sót đường hàn, đồng thời phải giám sát chặt chẽ các bước trong qui trình hàn nhằm bảo đảm chất lượng các mối hàn.
b) Các lưu ý trong quá trình lắp đặt:
– Việc bố trí các tấm panel trong một ca làm việc phải phù hợp và không vượt quá khả năng hàn hay neo giữ trong ca đó.
– Không trải màng trong trường hợp độ ẩm không khí quá cao gây đọng nước, có mưa hay gió to.
– Trải màng đến đâu phải chặn bao tải cát đến đó, tránh gió làm bay các tấm màng đi nơi khác hoặc cuộn rối lại thành từng đống.
– Chỉ sử dụng giày đế mềm cho những người thi công và tham gia giám sát, kiểm tra màng chống thấm.
– Sử dụng các biện pháp giảm thiểu các nếp nhăn nơi tiếp xúc giữa hai tấm màng, nhất là trong diện tích chồng mí.
– Không cho phép bất kỳ xe nào chạy trực tiếp trên bề mặt màng chống thấm.
– Các máy móc phục vụ thi công phải có khay hứng dầu, mỡ tránh làm loang lên bề mặt màng chống thấm và không được đặt máy trực tiếp lên bề mặt màng chống thấm mà phải có lớp đệm bằng tấm cao su hay bìa các tông.
– Trong quá trình lắp đặt, từ cán bộ phụ trách kỹ thuật, giám sát viên, kỹ sư đến công nhân luôn kiểm tra bằng mắt thường trên toàn bề mặt màng chống thấm để phát hiện các khiếm khuyết, đánh dấu các lỗ thủng, rách để sửa chữa.
5.2.5 Qui trình sửa chữa đường hàn lỗi
a) Qui trình vá:
Sử dụng vá các lỗ thủng, rách trong vận chuyển, bốc dỡ, thi công và lấy mẫu kiểm tra. Cách vá xem hình 17. Miếng vá phải trùm qua các mép lỗ thủng ít nhất 100mm. Trước khi hàn phải tạo nhám mặt tiếp xúc giữa miếng vá và tấm nền và phải mài vát 45° mép miếng vá. Tất cả các miếng vá xong phải kiểm tra bằng thí nghiệm hút chân không.
Kích thước tính bằng: m

CHÚ DẪN:
1 – lỗ thủng, vết rách; 2 – Miếng vá; 3 – đường hàn vá.
Hình 17 – Cách hàn vá lỗ thủng, rách
b) Qui trình phủ:
Áp dụng khi sửa chữa các đường hàn lỗi. Qui trình phủ xem hình 18. Tất cả các đoạn sửa chữa phải kiểm tra bằng thí nghiệm hút chân không.
Kích thước tính bằng: m

CHÚ DẪN:
| 1 – đoạn hàn lỗi (hở); | 2 – đường hàn phủ; | 3 – phần cắt bỏ; |
| 4 – mép trên của mí chồng; | 5 – mép dưới của mí chồng. |
Hình 18 – Cách hàn phủ
5.3 Công tác an toàn và bảo vệ môi trường trong quá trình thi công
5.3.1 Qui định chung
– Trước khi thi công phải điều tra, khảo sát kỹ địa hình, địa chất và thủy văn địa điểm thi công, dự báo trước các diễn biến thời tiết như mưa, bão, lốc để có biện pháp dự phòng bảo đảm an toàn cho người, thiết bị thi công, vật tư, nhiên liệu, các kho chứa vật liệu cũng như tài sản của dân cư sống lân cận.
– Các biện pháp bảo đảm toàn lao động, bảo vệ sức khoẻ, phòng chống cháy nổ, phòng chống bệnh dịch phải dựa vào các quy định hiện hành.
– Phải tiến hành điều tra, xác định vị trí các tuyến đường ống ngầm, đường dây điện ngầm, đường cáp quang ngầm trong phạm vi thi công để có biện pháp bảo đảm an toàn cho các công trình ngầm trong quá trình thi công.
– Phải có biện pháp hạn chế tối đa tác động xấu đến môi trường sinh thái, đặc biệt là vấn đề xử lý phế thải do thi công tạo ra nhằm tránh làm ô nhiễm đất, nguồn nước, nhất là nước ngầm.
5.3.2 Các yêu cầu an toàn trong thi công
– Tất cả mọi người tham gia thi công phải bắt buộc dự khóa học an toàn lao động do ban an toàn công trường giảng dạy.
– Tất cả mọi người tham gia thi công phải được trang bị bảo hộ lao động gồm: quần áo, giầy tất, kính mắt, dây an toàn.
– Các đường tạm, cầu tạm phải có bố trí biển báo, hướng dẫn cho người tham gia giao thông.
– Các hố móng, mép taluy, rãnh đặt ống ngầm, dây cáp ngầm phải có hàng rào bao quanh và cắm biển cảnh báo nguy hiểm.
– Các thiết bị máy thi công sử dụng nguồn điện phải trang bị hệ thống an toàn như: ổn áp, bộ tự ngắt. Các máy móc sử dụng xăng dầu, khí ga phải được trang bị thiết bị phòng chống cháy nổ như bình xịt CO2, cát, nước.
– Phải có hệ thống chiếu sáng nếu thi công ban đêm.
5.3.3 Yêu cầu về bảo vệ môi trường
– Phải có biện pháp phòng ngừa ô nhiễm đất, ô nhiễm nguồn nước, xói lở đất.
– Phải có biện pháp xử lý phế thải, rác thải sinh hoạt, đặc biệt các loại phế thải có lẫn dầu mỡ.
– Phải có biện pháp phòng ngừa ô nhiễm khí thải và tiếng ồn.
6.1 Kiểm nghiệm chất lượng đường hàn:
– Yêu cầu công tác chuẩn bị trước khi thi công xem mục 5.1
– Chất lượng đường hàn được đánh giá bởi độ kín (kín khí hoặc kín nước) và độ bền. Độ kín được kiểm nghiệm bằng phương pháp không phá hủy thực hiện trực tiếp tại hiện trường và độ bền được kiểm nghiệm bằng phương pháp phá hủy tại các phòng thí nghiệm hợp chuẩn (chi tiết xem Phụ lục A và Phụ lục B).
6.2 Nghiệm thu lắp đặt màng chống thấm:
Dựa vào các văn bản, các kết quả kiểm nghiệm chất lượng màng chống thấm trong suốt quá trình thi công, hội đồng nghiệm thu lập các biên bản nghiệm thu xác nhận màng chống thấm đã được lắp đặt theo đúng qui định yêu cầu đặc tính kỹ thuật và bản vẽ thiết kế.
(Quy định)
Kiểm tra chất lượng đường hàn bằng phương pháp không phá hủy
Kiểm tra chất lượng đường hàn bằng phương pháp không phá hủy thực hiện tại hiện trường bằng các thí nghiệm sau:
A.1 Phương pháp thí nghiệm áp lực khí:
Áp dụng cho đường hàn kép có kênh khí nằm giữa được hàn kín hai đầu.
A.1.1 Thiết bị thử:
– Bình khí nén hoặc một bơm không khí chạy bằng mô tơ hoặc thủ công có trang bị đồng hồ đo áp suất và có khả năng tạo ra và duy trì áp suất lớn hơn 275 kPa;
– Ống dẫn khí chịu áp lực bằng cao su;
– Kim rỗng đủ độ cứng có thể xuyên qua lớp màng chống thấm dễ dàng;
– Đồng hồ đo áp có độ chính xác 7 Pa;
– Đồng hồ bấm giây (thì kế).

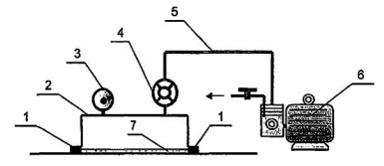
CHÚ DẪN:
| 1 – bình khí nén | 2 – van khống chế áp lực trong kênh khí | 3 – đồng hồ đo áp trong kênh khí |
| 4 – kim rỗng | 5 – mối hàn chặn |
Hình A.1 – Phương pháp thí nghiệm áp lực khí
A.1.2 Qui trình thử:
– Sơ đồ bố trí thiết bị thử xem hình A.1.
– Hàn kín hai đầu đường hàn bằng máy hàn đùn.
– Cắm kim rỗng vào kênh khí, mở van thông khí từ bình nén hoặc bơm cho đến khi áp lực đạt trị số theo Bảng A.1.
– Khóa van đồng thời bấm đồng hồ đo thời gian.
– Quan sát đồng hồ đo áp lực trong kênh khí không ít hơn 5 min.
– Ghi kết quả.
A.1.3 Đánh giá kết quả:
Sau 5 min nếu áp lực trong kênh khí không giảm hoặc giảm trong giới hạn cho phép ghi trong Bảng A.1 thì đường hàn đạt yêu cầu.
Bảng A.1 – Giới hạn áp lực trong kênh khí
| Độ dày màng HDPE | Áp lực tối thiểu | Áp lực tối đa | Giới hạn giảm áp |
| (m) | (kN/m2) | (kN/m2) | (kN/m2) |
| 0,75×10-3m | 165,4 | 206,7 | 20,7 |
| 1,00×10-3m | 165,4 | 206,7 | 20,7 |
| 1,50×10-3m | 186,0 | 206,7 | 20,7 |
| 2,00×10-3m | 186,0 | 206,7 | 20,7 |
| 2,50×10-3m | 206,7 | 220,5 | 20,7 |
A.1.4 Ví dụ nội dung báo cáo:
Tên dự án: ……………………………. Phụ trách công trường:
Vị trí lắp đặt: ………………………….. Dạng vật liệu: HDPE Nhẵn:…X…… Nhám
Phụ trách lắp đặt: ……………… Chiều dày màng : 1.5×10-3m
| Ngày thí nghiệm | Đường hàn số | Áp lực trong kênh khí bắt đầu TN | Áp lực trong kênh khí kết thúc TN | Thời gian giữ áp lực trong kênh khí | Đánh giá Chất lượng đường hàn | Phụ trách thí nghiệm |
| (kN/m2) | (kN/m2) | (min) | ||||
| 11/10/2014 | S1 | 206,7 | 199,8 | 5 | Đạt | |
A.2 Phương pháp thí nghiệm chân không:
Áp dụng cho tất cả các loại đường hàn nhưng chủ yếu áp dụng cho đường hàn đùn, đồng thời áp dụng để kiểm tra các khuyết tật bề mặt màng chống thấm.
A.2.1 Thiết bị thử:
– Hộp chân không trong suốt thường làm từ thủy tinh hữu cơ, hình khối hộp chữ nhật hoặc hình chỏm cầu, nhiều kích cỡ, có một mặt thoáng được viền cao su xốp (neoprene) để tạo độ kín khi tiếp xúc với bề mặt màng chống thấm.
– Đồng hồ chân không có thang đo từ 5 kPa (37,5mmHg) đến 70 kPa (525mmHg).
– Van thoát khí gắn ở mặt trên của hộp chân không.
– Bơm chân không có thể làm giảm áp suất trong hộp chân không xuống từ 27 kPa (200 mmHg) đến 60 kPa (450 mmHg) có trang bị ống mềm chịu áp lực nén để nối với van thoát khí trên hộp chân không.
– Dung dịch xà phòng và chổi quét.
A.2.2 Qui trình thử:
Sơ đồ bố trí thiết bị thử xem hình A.2.

CHÚ DẪN:
| 1 – viền cao su xốp | 2 – hộp chân không | 3 – đồng hồ đo áp suất trong hộp chân không |
| 4 – van điều chỉnh áp | 5 – ống dẫn khí | 6 – bơm hút chân không |
| 7 – dung dịch xà phòng |
Hình A.2 – Phương pháp thí nghiệm hút chân không
– Úp hộp chân không lên diện tích màng chống thấm hoặc đường hàn, cần kiểm tra đã được quét ướt đều bằng dung dịch xà phòng.
– Hút chân không từ 28 kPa (210mmHg) đến 55 kPa(412mmHg) tùy thuộc vào độ dày màng HDPE.
– Quan sát toàn bộ diện tích thử không ít hơn 10 giây và ghi kết quả.
A.2.3 Đánh giá kết quả:
– Đường hàn đạt yêu cầu nếu không xuất hiện bong bóng xà phòng.
– Bong bóng xà phòng sẽ xuất hiện tại điểm có lỗ thủng hoặc đường hàn hở. Đánh dấu khu vực để sửa chữa.
A.2.4 Ví dụ nội dung báo cáo:
Tên dự án: ………………………… Phụ trách công trường:
Vị trí lắp đặt: ………………………. Dạng vật liệu: HDPE Nhẵn: X Nhám
Phụ trách lắp đặt: ………………… Chiều dày màng : 1mm (40 mils)
| Ngày | Đường hàn số | Dạng đường hàn | Áp suất chân không (kPa hoặc mmHg) | Thời gian quan sát (s) | Chất lượng đường hàn (đạt, không đạt) | Phụ trách thí nghiệm |
| 11/10/2014 | S1 | đùn | 30kPa (225 mmHg) | 15 | Đạt | |
A.3 Phương pháp thí nghiệm tia lửa điện:
Phương pháp thí nghiệm tia lửa điện không chỉ để kiểm tra chất lượng tất cả các dạng đường hàn, miếng vá, chỗ phủ … mà còn để phát hiện các khiếm khuyết trong quá trình chế tạo trên toàn bộ bề mặt màng chống thấm.
A.3.1 Thiết bị thí nghiệm:
– Máy khuếch đại điện áp lên tới 35 kV.
– Đầu rà (còn gọi là bàn chải rà) có cán làm bằng vật liệu cách được điện áp cao, bảo đảm an toàn cho người sử dụng, đầu rà được nối với cực dương của máy khuếch đại điện áp.
– Bản âm cực di động nối với cực âm của máy khuếch đại điện áp.
– Bộ bảo hộ an toàn về điện cho thí nghiệm viên: quần áo, giày, kính, găng tay.
A.3.2 Qui trình vận hành:
Sơ đồ bố trí thiết bị thử xem hình A.3.

CHÚ DẪN:
| 1 – đầu rà (bàn chải rà) | 2 – cực dương của máy khuếch đại điện áp |
| 3 – máy khuếch đại điện áp | 4 – cực âm của máy khuếch đại điện áp |
| 5 – bản âm cực |
Hình A.3 – Phương pháp thí nghiệm tia lửa điện
– Khuếch đại điện áp lên từ 15000 V đến 35000 V (Tùy theo chiều dày màng chống thấm)
– Cầm cán của đầu rà, rà trên bề mặt mối hàn hay trên bề mặt màng chống thấm.
A.3.3 Đánh giá kết quả:
Nếu mối hàn hở hoặc có lỗ thủng trên bề mặt màng chống thấm thì từ đầu rà xuất hiện tia lửa điện kèm theo tiếng đánh lửa lách tách. Dùng bút sơn trắng đánh dấu để sửa chữa.
A.3.4 Ví dụ nội dung báo cáo:
Tên dự án: ……………………… Phụ trách công trường:
Vị trí lắp đặt: ……………………. Dạng vật liệu: HDPE Nhẵn: X Nhám
Phụ trách lắp đặt: ………………… Chiều dày màng : 1×10-3m
| Ngày | Đường hàn số | Khu vực (bề mặt) kiểm tra | Điện áp (Vol) | Người kiểm tra | Đánh giá chất lượng (đạt, không đạt) | Phụ trách thí nghiệm |
(Quy định)
Kiểm tra chất lượng đường hàn bằng phương pháp phá hủy
Độ bền cơ học biểu hiện bằng khả năng kháng bóc và kháng kéo của mối hàn được kiểm nghiệm bằng phương pháp phá hủy tại các phòng thí nghiệm hợp chuẩn.
B.1 Tần suất lấy mẫu và kích thước mẫu thí nghiệm:
a) Tần suất lấy mẫu thỏa mãn các điều kiện sau
– Tần suất thí nghiệm tối thiểu là 150 m (500 ft) dài đường hàn cho 1 lần lấy mẫu (Theo GRI Test method GM14).
– Do yêu cầu của giám sát viên chịu trách nhiệm bảo đảm chất lượng lắp đặt tăng hoặc giảm tần suất lấy mẫu dựa trên các kết quả thí nghiệm trước đó.
b) Kích thước mẫu thí nghiệm
– Mẫu hình chữ nhật, kích thước rộng x dài = 0,3m x 0,1 m, có đường hàn chạy dọc đường trung tâm. Xem hình B.1.
– Mẫu được được chia thành ba phần:
| Phần cho phòng thí nghiệm: | Rộng x Dài = 0,3 m x 0,45 m. |
| Phần cho người lắp đặt: | Rộng x Dài = 0,3 m x 0,3 m. |
| Phần cho chủ đầu tư để lưu trữ: | Rộng x Dài = 0,3 m x 0,3 m. |
Thỏa mãn một trong các điều kiện sau
– Ngẫu nhiên.
– Tại những vị trí nghi ngờ có khuyết tật.
– Do yêu cầu của giám sát viên chịu trách nhiệm bảo đảm chất lượng lắp đặt.
– Giám sát viên là người ký và đánh số mỗi mẫu, đánh dấu số mẫu, vị trí lấy mẫu và thời gian lấy mẫu.
CHÚ THÍCH:
Hàn vá ngay lập tức các vị trí lấy mẫu và kiểm tra lại bằng một trong các phương pháp thí nghiệm không phá hủy.
B.3.1 Mẫu thử
a) Chế tạo mẫu thử:
Mẫu lớn kích thước 0,305m x 0,458m lấy từ hiện trường về phòng thí nghiệm được chế tạo thành 10 mẫu nhỏ hình chữ nhật, kích thước 0,025m x 0,15m, xem hình B.1.
– 5 mẫu sử dụng để thí nghiệm xác định độ bền kháng kéo là: 1a, 2a, 3a, 4a, 5a.
– 5 mẫu sử dụng để thí nghiệm xác định độ bền kháng bóc là: 1b, 2b, 3b, 4b, 5b.
Kích thước tính bằng: m

![]() | Chú dẫn: a, Thí nghiệm kháng kéo. b, Thí nghiệm kháng bóc. 5 mẫu thử kháng kéo: 1a, 2a, 3a, 4a, 5a. 5 mẫu thử kháng bóc: 1b, 2b, 3b, 4b, 5b. |
Hình B.1 – Thí nghiệm kháng kéo và kháng bóc mối hàn
b) Bảo dưỡng mẫu trong điều kiện tiêu chuẩn:
– Nhiệt độ: 23 ± 2°C
– Độ ẩm: 50% ÷ 70%
– Thời gian: 40 h
B.3.2 Thiết bị thí nghiệm:
– Máy kéo vạn năng.
– Bộ cảm biến lực có thang đo từ 0 kN đến 100 kN.
– Bộ ngàm kẹp mẫu có thiết diện 0,0254m2.
B.3.3 Trình tự thí nghiệm:
– Thí nghiệm xác định độ bền kháng kéo: lắp mẫu như hình a, xem hình B.1.
– Thí nghiệm xác định độ bền kháng bóc: lắp mẫu như hình b, xem hình B.1.
– Chọn tốc độ kéo 0,050m/min
– Cho máy chạy cho đến khi mẫu đứt hoàn toàn. Đọc và ghi kết quả, (lưu đối với máy tính).
– Lặp lại qui trình trên cho khi đến hết số lượng mẫu thử.
B.3.4 Tính toán kết quả:
– Độ bền kháng kéo của mối hàn là giá trị trung bình cộng của 5 mẫu thử : 1a, 2a, 3a, 4a, 5a.
| TK= | Tk1+Tk2+Tk3+Tk4+Tk5 |
| 5 |
trong đó:
TK – độ bền kháng kéo của mối hàn tính bằng lbs/in (PPI) hoặc kN/m .
Tk1, Tk2, Tk3, Tk4, Tk5 – độ bền kháng kéo của các mẫu thử tính bằng lbs/in (PPI) hoặc kN/m .
– Độ bền kháng bóc của mối hàn là giá trị trung bình cộng của 5 mẫu thử : 1b, 2b, 3b, 4b, 5b.
| TK= | Tb1+Tb2+Tb3+Tb4+Tb5 |
| 5 |
trong đó:
TB – là độ bền kháng bóc của mối hàn tính bằng lbs/in (PPI) hoặc kN/m.
Tb1, Tb2, Tb3, Tb4, Tb5 – độ bền kháng bóc của các mẫu thử tính bằng lbs/in (PPI) hoặc kN/m.
– In kết quả thí nghiệm và biểu đồ kéo đối với thiết bị điều khiển tự động kết nối với bộ xử lý số liệu của máy tính.
B.3.5 Đánh giá kết quả:
Đường hàn được đánh giá là đạt độ bền cơ học khi kết quả thí nghiệm độ bền kháng kéo và độ bền kháng bóc bằng hoặc lớn hơn các giá trị tương ứng ghi ở Bảng B.1.
Bảng B.1 – Bảng tiêu chuẩn độ bền mối hàn
| Độ dày màng chống thấm HDPE (mm) | Độ bền kéo | Độ bền kháng bóc | ||
| (KN/m) | (KN/m) | |||
| Hàn đùn | Hàn kép | Hàn đùn | Hàn kép | |
| 0,75 | 11,0 | 11,0 | 6,1 | 8,6 |
| 1,00 | 14,1 | 14,1 | 9,1 | 11,4 |
| 1,50 | 21,2 | 21,2 | 13,7 | 17,2 |
| 2,00 | 28,4 | 28,4 | 18,2 | 22,8 |
| 2,50 | 35,6 | 35,6 | 22,7 | 28,4 |
B.3.6 Lưu mẫu
– Mẫu lưu hình chữ nhật có kích thước nhỏ nhất: chiều rộng x chiều dài = 0,305 m x 0,306 m.
– Lưu mẫu trong điều kiện tiêu chuẩn theo quy định của TCVN 8222 : 2009
– Thời gian lưu mẫu tối thiểu là 28 ngày.
(Tham khảo)
Mẫu báo cáo lắp đặt màng chống thấm
Tên dự án: ……………………………Phụ trách công trường: ……………………………………….
Vị trí lắp đặt: ………………………….Dạng vật liệu: HDPE Nhẵn: ………………Nhám:…………
Phụ trách lắp đặt: ……………………Chiều dày màng : ………………………………………………
Thời gian: ………..giờ,ngày ……..tháng ……năm………….
| Số TT | Tấm (Panel) số | Dài (m) | Rộng (m) | Diện tích (m2) | Vị trí – Thời gian lắp đặt | Phụ trách lắp đặt |
| 1 | ||||||
| 2 | ||||||
| 3 | ||||||
| 4 | ||||||
| 5 |
(Tham khảo)
Mẫu báo cáo hàn màng chống thấm
Tên dự án: ……………………………Phụ trách công trường: ……………………………………….
Vị trí lắp đặt: ………………………….Dạng vật liệu: Nhẵn: ………………Nhám:…………
Phụ trách lắp đặt: ……………………Chiều dày màng : ………………………………………………
Thời gian: ………..giờ,ngày ……..tháng ……năm………….
| Số TT | Đường hàn số | Dạng đường hàn | Độ dài (m) | Máy hàn số | Vị trí & Thời gian hàn | Phụ trách thi công |
| 1 | ||||||
| 2 | ||||||
| 3 | ||||||
| 4 | ||||||
| 5 |
(Tham khảo)
Tính chất cơ lý và kích thước một số màng HDPE trên thị trường
Bảng E.1 Tính chất cơ lý màng HDPE – loại thứ nhất
| TT | Tính chất | Tiêu chuẩn thí nghiệm | Trị số (thấp nhất) | |||||||
| 1 | Chiều dày (mm) | ASTM-D751 | 0,27 | 0,45 | 0,68 | 0,90 | 1,35 | 1,80 | 2,25 | 2,7 |
| 2 | Khối lượng riêng (g/cm3) | ASTM-D1505 | 0,94 | 0,94 | 0,94 | 0,94 | 0,94 | 0,94 | 0,94 | 0,94 |
| 3 | Chỉ số chảy dẻo (g/10min) | ASTM-D1238 | 1,00 | 1,00 | 1,00 | 1,00 | 1,00 | 1,00 | 1,00 | 1,00 |
| 4 | Cường độ chịu kéo tại điểm đứt (kN/m) | ASTM-D638 Dạng IV | 8,0 | 14,0 | 21,0 | 28,0 | 43,0 | 57,0 | 71,0 | 85 |
| 5 | Cường độ chịu kéo tại điểm uốn (kN/m) | ASTM-D638 Dạng IV | 5,0 | 8,0 | 11,0 | 15,0 | 23,0 | 30,0 | 38,0 | 45 |
| 6 | Độ giãn dài tại điểm đứt (%) | ASTM-D638 Dạng IV | 600 | 700 | 700 | 700 | 700 | 700 | 700 | 700 |
| 7 | Độ giãn dài tại điểm uốn (%) | ASTM-D638 Dạng IV | 13 | 13 | 13 | 13 | 13 | 13 | 13 | 13 |
| 8 | Sức kháng xé (N) | ASTM-D1004 | 40 | 65 | 93 | 125 | 187 | 249 | 311 | 373 |
| 9 | Sức kháng thủng (N) | ASTM-D4833 | 105 | 176 | 263 | 352 | 530 | 703 | 881 | 1059 |
| 10 | Hàm lượng cácbon (%) | ASTM-D1603 | 2,0 | 2,0 | 2,0 | 2,0 | 2,0 | 2,0 | 2,0 | 2,0 |
Bảng E.2 Tính chất cơ lý màng HDPE – loại thứ hai
| TT | Tính chất | Tiêu chuẩn thí nghiệm | Trị số (thấp nhất) | |||||||
| 1 | Chiều dày (mm) | ASTM-D751 | 0,27 | 0,45 | 0,67 | 0,90 | 1,35 | 1,80 | 2,3 | 2,7 |
| 2 | Khối lượng riêng (g/cm3) | ASTM-D1505 | 0,94 | 0,94 | 0,94 | 0,94 | 0,94 | 0,94 | 0,94 | 0,94 |
| 3 | Cường độ chịu kéo tại điểm đứt (kN/m) | ASTM-D638 Dạng IV | 8,0 | 14,0 | 21,0 | 28,0 | 43,0 | 57,0 | 71,0 | 80 |
| 4 | Cường độ chịu kéo tại điểm uốn (kN/m) | ASTM-D638 Dạng IV | 5,0 | 9,0 | 11,0 | 16,0 | 25,0 | 34,0 | 40,0 | 44 |
| 5 | Độ giãn dài tại điểm đứt (%) | ASTM-D638 Dạng IV | 700 | 700 | 700 | 700 | 700 | 700 | 700 | 700 |
| 6 | Độ giãn dài tại điểm uốn (%) | ASTM-D638 Dạng IV | 13 | 13 | 13 | 13 | 13 | 13 | 13 | 13 |
| 7 | Sức kháng xé (N) | ASTM-D1004 | 42 | 73 | 100 | 128 | 210 | 275 | 330 | 374 |
| 8 | Sức kháng thủng (N) | ASTM-D4833 | 105 | 176 | 264 | 320 | 480 | 640 | 820 | 960 |
| 9 | Hàm lượng cácbon (%) | ASTM-D1603 | 2,0 | 2,0 | 2,0 | 2,0 | 2,0 | 2,0 | 2,0 | 2,0 |
Bảng E.3 Tính chất cơ lý màng HDPE – loại thứ ba
| TT | Tính chất | Tiêu chuẩn thí nghiệm | Trị số (thấp nhất) | ||||
| 1 | Chiều dày (mm) | ASTM-D751 | 0,75 | 1,0 | 1,5 | 2,0 | 2,5 |
| 2 | Khối lượng riêng (g/cm3) | ASTM-D1505 | 0,94 | 0,94 | 0,94 | 0,94 | 0,94 |
| 3 | Cường độ chịu kéo tại điểm đứt (kN/m) | ASTM-D638 Dạng IV | 20 | 27 | 40 | 53 | 67 |
| 4 | Cường độ chịu kéo tại điểm uốn (kN/m) | ASTM-D638 Dạng IV | 11 | 15 | 22 | 29 | 37 |
| 5 | Độ giãn dài tại điểm đứt (%) | ASTM-D638 Dạng IV | 700 | 700 | 700 | 700 | 700 |
| 6 | Độ giãn dài tại điểm uốn (%) | ASTM-D638 Dạng IV | 12 | 12 | 12 | 12 | 12 |
| 7 | Sức kháng xé (N) | ASTM-D1004 | 93 | 138 | 210 | 275 | 330 |
| 8 | Sức kháng thủng (N) | ASTM-D4833 | 240 | 352 | 540 | 705 | 890 |
| 9 | Hàm lượng cácbon (%) | ASTM-D1603 | 2,0 | 2,0 | 2,0 | 2,0 | 2,0 |
Bảng E.4 Kích thước màng HDPE
| Chiều dày | Chiều rộng | Chiều dài | Diện tích | Khối lượng | Khối lượng đơn vị |
| (mm) | (m) | (m) | (m2) | (kg) | (kg/m2) |
| 0,30 | 6,86 | 700 | 4802 | 1364 | 0,280 |
| 0,50 | 6,86 | 423 | 2902 | 1364 | 0,467 |
| 0,75 | 6,86 | 282 | 1953 | 1364 | 0,705 |
| 1,00 | 6,86 | 211 | 1447 | 1364 | 0,942 |
| 1,50 | 6,86 | 141 | 967 | 1364 | 1,410 |
| 2,0 | 6,86 | 106 | 727 | 1364 | 1,876 |
| 2,50 | 6,86 | 85 | 583 | 1364 | 2,340 |
Thư mục tài liệu tham khảo
+ TCCS 01 – 2007 – VKHTL, Hướng dẫn thiết kế thi công vải chống thấm trong công trình thủy lợi
+ ASTM-D 6392-99: Standard Test Methods For Determining The Inegrity Of NonReinforced Geomembrane Seams Produced Using Thermo – Fusion Methods: “Phương pháp thí nghiệm xác định chất lượng đường hàn nhiệt đối với màng địa kỹ thuật không dùng cho gia cố”
+ ASTM-D1004: Standard Test Methods For tear resistance of plastic film and sheeting: “Phương pháp thí nghiệm xác định độ bền kháng xé”.
+ ASTM-D638: Standard Test Methods For properties of plastics: “Phương pháp thí nghiệm xác định tính chất của nhựa”.
+ ASTM-D 5641-94: Standard Practice For Geomembrane Seam Evaluation By Vacuum Chamber: “Tiêu chuẩn thí nghiệm hút chân không áp dụng cho đường hàn của màng chống thấm”.
+ GRI Standard GW113 Test Properties, Testing Frequency and recommended Warranty for High Density Polyethylene (HDPE) Smooth and Textured Geomembranes: “ Phương pháp thử các tính chất, tần suất thí nghiệm và yêu cầu bảo hành đối với màng chống thấm HDPE nhẵn và nhám”.
+ GRI Standard GM14: Selecting Variable Intervals for Taking Geomembrane Destructive Seam Samples Using the Method of Attributes Smooth and Textured Geomembranes: “ Chọn tần suất lấy mẫu đường hàn cho thí nghiệm phá hủy đối với màng chống thấm nhẵn và nhám”.
+ ASTM D4437 – 08: Standard Practice for Non-destructive Testing (NDT) for Determining the Integrity of Seams Used in Joining Flexible Polymeric Sheet Geomembranes: “Phương pháp thí nghiệm không phá hủy xác định chất lượng đường hàn khi nối màng chống thấm”.
MỤC LỤC
Lời nói đầu
1. Phạm vi áp dụng
2. Tài liệu viện dẫn
3. Thuật ngữ và định nghĩa
4. Yêu cầu thiết kế
4.1. Lựa chọn màng HDPE chống thấm cho công trình thủy lợi
4.2. Các hình thức bảo vệ màng chống thấm HDPE
4.3. Chi tiết các hình thức liên kết của màng HDPE
5. Yêu cầu thi công
5.1. Công tác chuẩn bị trước khi thi công
5.2. Yêu cầu trong quá trình thi công
5.3. Công tác an toàn và bảo vệ môi trường trong quá trình thi công
6. Nghiệm thu
6.1. Kiểm nghiệm chất lượng đường hàn
6.2. Nghiệm thu lắp đặt màng chống thấm
Phụ lục
Thư mục tài liệu tham khảo












































































